数据复盘丨谷子经济、铜缆高速连接等概念走强 50股获主力资金净流入超亿元 ...

来自: 证券时报网 收藏 发布:如意潇湘网

2月11日,上证指数、深证成指、创业板指、科创50指数全天低位窄幅震荡。截至收盘,上证指数报3318.06点,跌0.12%,成交额6321.67亿元;深证成指报10557.62点,跌0.69%,成交额10037.81亿元;创业板指报2152.73点,跌1.43%,成交额4878.15亿元;科创50指数报1024.41点,跌1.19%,成交额1387.41亿元。沪深两市合计成交16359.48亿元,成交额较上一交易日减少948.76亿元。

谷子经济、铜缆高速连接等概念走强 新炬网络连收9个涨停板

盘面上来看,行业板块、概念跌多涨少。其中,纺织服装、银行、传媒、石油石化、贵金属等行业涨幅靠前;谷子经济、铜缆高速连接、盲盒经济、全息技术、摄像头、影视等概念走势活跃。房地产、电力设备、国防军工、计算机、医药生物、保险、食品饮料、农林牧渔等行业跌幅居前;存储芯片、BC电池、第四代半导体、共享经济、锂矿、创新药、猪肉概念、重组蛋白、人脑工程等概念走势较弱。涨停个股主要集中在传媒、化工、纺织服装、计算机、通信等行业。

个股涨跌情况,截至收盘,沪深两市合计1624只个股上涨,3365只个股下跌,平盘个股134只,停牌的个股8只。不含当日上市新股,共有80只个股涨停,2只个股跌停。

从收盘涨停板封单量来看,杭钢股份最受追捧,收盘涨停板封单有2.41亿股;其次是居然智家、胜利精密、巨轮智能、拓维信息、海南华铁等,涨停板封单分别有5827.36万股、5663.7万股、5372.36万股、4030.25万股、3770.74万股。

以涨停板封单金额计算,19股封单金额超1亿元。其中,杭钢股份涨停板封单资金最多,涨停板封单资金为20.14亿元;其次是美格智能、拓维信息、梦网科技、浙数文化、巨轮智能等,涨停板封单资金分别为14.27亿元、10.96亿元、5.27亿元、4.83亿元、4.47亿元。

个股涨跌分布.png

连续涨停天数来看,新炬网络连收9个涨停板,连续涨停板数量最多;其次是美格智能7连板;航锦科技、浙江东方均6连板;拓维信息、梦网科技、杭钢股份、浙数文化、青云科技均5连板;联创电子、海南华铁、*ST龙津均4连板;世荣兆业、*ST工智、奥瑞德、瑞斯康达均3连板;东风科技、润建股份、光线传媒、亚香股份、金帝股份、龙软科技等15股均2连板。

沪深两市主力资金净流出584.2亿元 29个行业主力资金呈现净流出

Wind统计显示,沪深两市主力资金今日净流出584.2亿元。其中,创业板主力资金净流出224.41亿元,沪深300成份股主力资金净流出139.03亿元,科创板主力资金净流出42.65亿元。

从行业来看,申万所属的31个一级行业,今日仅有纺织服装、银行2个行业主力资金呈现净流入,净流入金额分别为1.57亿元、0.53亿元。29个行业主力资金呈现净流出,其中,计算机行业主力资金净流出最多,净流出金额为172.3亿元;行业主力资金净流出靠前的还有电子、汽车、医药生物、电力设备、通信、传媒等,净流出金额分别为80.05亿元、52.03亿元、39.87亿元、33.29亿元、28.58亿元、27.61亿元。

行业主力资金净流入额.png 

50股获主力资金净流入超亿元 尾盘主力资金抢筹拓斯达等

个股来看,今日有1616只个股获主力资金净流入,其中,50股获主力资金净流入超1亿元。巨轮智能主力资金净流入最多,净流入金额为9.44亿元;主力资金净流入居前的个股还有拓维信息、紫金矿业、浪潮信息、胜利精密、省广集团等,净流入金额分别为3.96亿元、3.95亿元、3.85亿元、3.77亿元、3.42亿元。

尾盘主力资金净流入来看,有24股获尾盘主力资金净流入超3000万元,其中,拓斯达尾盘主力资金净流入最多,净流入金额为2.43亿元;其次是韦尔股份、东山精密、中国电信、农业银行、柯力传感等,尾盘主力资金净流入均超6000万元。

个股主力资金净流入TOP20.png 

146股被主力资金净卖出超亿元

今日有3505只个股被主力资金净卖出,其中,146股被主力资金净卖出超1亿元。主力资金净流出最多的个股是赛力斯,净流出金额为19.65亿元;主力资金净流出居前的个股还有常山北明、利欧股份、神州数码、四川长虹、东方财富等,净流出金额分别为12.56亿元、12.05亿元、12.01亿元、11.62亿元、10.51亿元。

尾盘主力资金净卖出来看,有40股被尾盘主力资金净卖出超5000万元,其中,尾盘主力资金净流出最多的个股是赛力斯,净流出金额为3.61亿元;其次是每日互动、软通动力、优刻得、四川长虹、利欧股份、东方财富、中兴通讯、云从科技、三六零、润和软件等,尾盘主力资金净流出均超1亿元。

个股主力资金净流出TOP20.png 

龙虎榜机构净买入9股 优刻得居首

盘后龙虎榜数据显示,今日机构席位资金合计净卖出约2.42亿元。其中,净买入的个股9只,净卖出的个股10只。机构净买入最多的股票是优刻得,净买入金额约2.51亿元;机构净买入居前的还有金桥信息、首都在线、数据港等。机构净卖出最多的股票是光线传媒,净卖出金额约3.09亿元;机构净卖出居前的还有钧达股份、利欧股份、联创电子等股。

龙虎榜机构净买入的个股.png 

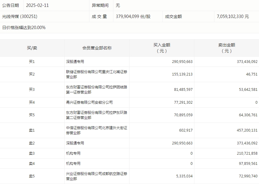
光线传媒今天涨停。盘后数据显示,2家机构出现在龙虎榜单上,合计净卖出3.09亿元;东方财富证券股份有限公司拉萨团结路第一证券营业部买入8148.56万元,同时卖出5364.26万元;中信证券股份有限公司北京建外大街证券营业部买入60.29万元,同时卖出4.57亿元。

光线传媒.png 


校对:刘榕枝


鲜花

握手

雷人

路过

鸡蛋
上一篇:
揭秘涨停丨这只机器人龙头股获游资集体抢筹发布时间:2025-02-11
下一篇:
光线传媒,再封涨停!这一概念集体爆发!发布时间:2025-02-11
相关推荐
热门排行
电子邮箱:624937665@qq.com
客服电话:18890353030
公司地址:湖南省长沙市开福区新河街道湘江北路三段1500号A3区北辰国荟5302室

Powered by 湖南聚嘉财经网络科技有限公司 © 2025 ruyici.top Inc.( 湘ICP备2024089860号-1 )